
The company that made the folding Glock and filed for bankruptcy in November is auctioning off its assets in an open bidding process that will begin June 24, GunsAmerican has learned.
Full Conceal, Inc., is selling two patents, one pending patent, and 16 firearms in an auction with a starting bid of $75,000. Any interested party can participate, but they need to post $100,000 one day prior to the sale.
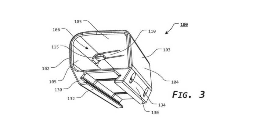
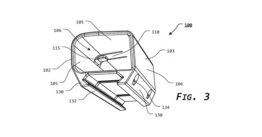
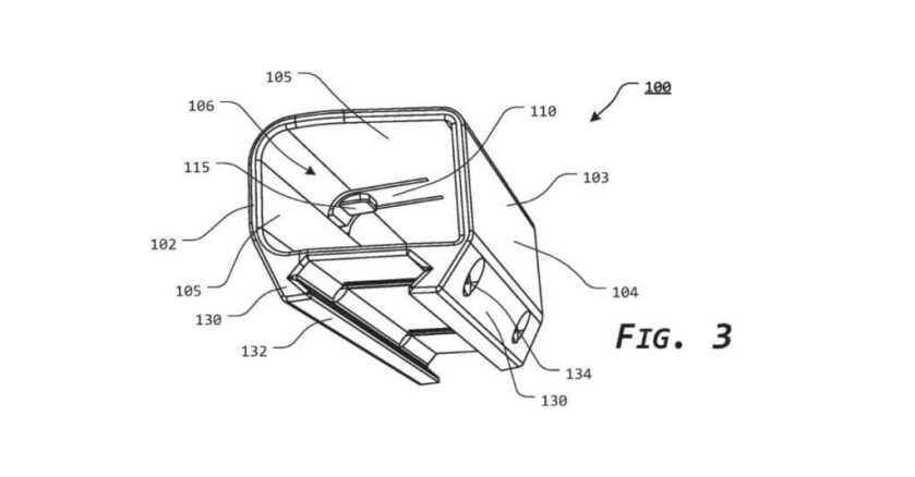
The patents for sale include the company’s famous folding handgun along with a safety trigger. The winning bidder will also receive the rights to a pending patent for a device titled “Magazine Retention Device with Integrated Aiming System.”
The sixteen firearms for sale include seven M3Ds based on the 9mm Glock 19, four M3Ss based on the 9mm Glock 43, and five M3D-S69mms, the company’s own production handgun.
Liberty Financial currently holds the highest bid at $75,000, according to bankruptcy documents. The bankruptcy trustee reached out to several firearms companies to determine interest in Full Conceal’s patents, but none offered a higher price than $75,000. To beat Liberty Financial’s offer, another bidder must raise the bid by at least $25,000. After that, the bid must be raised in at least $2,000 increments.
SEE ALSO: Folding Glock Company Files for Bankruptcy
Full Conceal filed for chapter 7 bankruptcy, which does not involve the filing of a plan of repayment (as in chapter 13, for example), according to U.S. Courts. Instead, the bankruptcy trustee gathers and sells the debtor’s nonexempt assets and uses the proceeds of such assets to pay creditors in accordance with the Bankruptcy Code.
It’s unclear precisely what led to Full Conceal’s demise, and they have not returned a GunsAmerica request for comment. Their website is down, and they haven’t updated their social media accounts since February 28, 2020.
A review of their website on the Internet Archive reveals that they were running into COVID-related production issues.
On the listing of their first production handgun, the M3D-S6, the company assures buyers that the product is currently being manufactured but “due to coronavirus disruption, the estimate [sic] shipping is now late-April 2020.”


SEE ALSO: Full Conceal VIPER: The Unofficial Space Force Collapsible Carry Gun – SHOT Show 2019
The company was founded by Mike Full and made its debut at the 2017 SHOT Show. Full “spent a lot of time thinking about worst-case defense scenarios and how to give the ‘non-tactical’ defenders a fighting chance,” according to the “About Us” page on the company’s website.
“To this end he invented and patented, a means to convert popular conventional Glock handguns into compact, inconspicuous and ultra-safe folding guns that people can use without the safety worries and lifestyle changes that come with carrying conventional handguns,” the page continues.
Interested parties can participate by dialing (877) 411-9748 and using access code 8931051. More information on participating in the auction can be found on United States Bankruptcy Court for the District of Nevada’s website.
Honestly, I’m surprised this company lasted as long as they did. The whole concept was laughable from the start. It was literally a solution to a non-existent problem that actually made the pistol less reliable and less practical to use. All of their products are gadget concepts and nothing more.
Good riddance to an answer to a nonexistent question. Why someone is willing to drop $75K on the retarded concept package is beyond me.